Vibro-JS teräsjousivaimennin on tärinänvaimennin tärinäeristetylle kelluvalle betonilattialle. Teräsjousivaimennin estää tärinän ja äänen, sekä mekaanisen värähtelyn siirtymistä muihin rakenteisiin, katkaisemmalla runkoäänen.
Vibro-JS teräsjousivaimennin on edistynyt tärinänvaimennusratkaisu kelluvien betonilattioiden toteuttamiseen erityisesti vaativissa akustisissa kohteissa. Se on suunniteltu katkaisemaan runkoääni ja estämään mekaanisen tärinän siirtymistä rakennuksen muihin osiin. Tuote soveltuu erinomaisesti kohteisiin, joissa tarvitaan korkeaa ääneneristystä ja akustista suorituskykyä, kuten äänitysstudiot, konehuoneet, liikuntasalit, teatterit ja tekniset tilat.
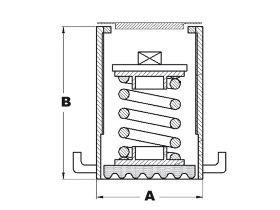
Vibro-JS teräsjousivaimennin kelluva betonilattia rakenne ja toiminta
Jousivaimennin muodostuu seuraavista osista:
- galvanoidusta teräksestä valmistettu metallikuori
- vaimennusjousi, joka kantaa ja eristää
- nostomekanismi, joka mahdollistaa betonilaatan nostamisen alla olevasta laatasta ilman muotteja
- päällinen kansilevy, joka viimeistelee asennuksen
Kelluva betonilaatta ei ole kosketuksissa rakennuksen kantaviin rakenteisiin, vaan lepää jousijärjestelmän päällä. Näin muodostuu tehokas ilmarako, joka vaimentaa tehokkaasti sekä tärinää että rakenteiden kautta kulkevaa ääntä (runkoääntä). Teräsjousi varmistaa lattiavalun yhteydessä, että kelluvan betonilattian laatta ei pääse koskettamaan pohjalaattaa, mikä estää äänisillan syntymistä kelluvan lattian ja alla olevan laatan välillä ja katkaisee runkoäänen.
Vibro-JS teräsjousivaimennin kelluva betonilattia edut
- erittäin helppo asentaa
- mahdollistaa kelluvan lattian korkeuden säätämisen
- auttaa välttämään valun sisään jäävien vanerimuottien käyttöä
- luo ilmaraon kelluvan betonilattian ja pohjalaatan välille, mikä parantaa äänieristystä ja tärinänhallintaa
Vibro-JS teräsjousivaimennin kelluva betonilattia käyttökohteet
- aänitysstudiot ja musiikkiluokat
- konehuoneet, IV-konehuoneet ja talotekniset tilat
- elokuvateatterit, näyttämöt ja esitystilat
- liikuntahallit, kuntokeskukset, kuntosalit ja kotisalit
- hotellien ja asuntojen askelääntä vaimentavat lattiat
Tärinänvaimennin kelluva betonilattia asennusohje
- varmista että kantava betonilaatta on suora ja tasainen, ennen tärinävaimentimen asennusta
- aseta muovikalvo (paksuus min 0,15 mm) valettavan kelluvan betonilaattan alle ja ympäröiville seinäpinnoille, niin että kelluva laatta saadaan helpommin nostettua.
- eristä kelluva lattia rakennuksen rungosta sopivalla tärinänvaimennuslevyllä, asentamalla se kelluvan lattian ja seinän liittymään esim. Vibro-Strip tai Isolfon-FF.
- aseta teräsjousivaimentimen suunnitelmien mukaiselle paikalle ja sen kehys paikalleen lattialle. Varmista että tärinänvaimentimen kuminen alaosa on asetettu tiiviisti sen kehykseen, niin että betoni ei pääse valumaan vaimentimen sisälle.
- suojaa lattiavaimentimen yläosa betonilta joustavalla muovisuojalla.
- aseta kelluvan betonilaatan raudoitus tai raudoitusverkot tärinänvaimentimen sivussa oleviin koukkujen varaan. Rakennesuunnittelelija suorittaa laskelmat betonin laadusta, riittävästä raudoituksesta ja muista vaatimuksista.
- valaa kelluvan betonilattian laatta ja anna betonin kuivua vaaditun ajan ( haluttu lujuus saavutetaan 25 päivän päästä valusta).
- kuormita teräsjousivainenninta asteittain ja tasaisesti, kiertämällä korotusmekanismia myötäpäivään käsityökalulla (2 kierrosta kerralla), niin että jouset jännittyvät ja kelluva betonilaatta lähtee nousemaan ylöspäin. Säädä betonilaatta halutulle korkeudelle. Käytä käsityökalua
- aseta tärinävaimentimen peitelevy teräsjousijousen päälle
Vibro-JS tärinänvaimennin dynaamiset ominaisuudet
| Malli | Korkeus (mm) | Maksimikuorma (daN) |
|---|---|---|
| Vibro-JS-250 | 95–150 | 250 |
| Vibro-JS-500 | 95–150 | 500 |
| Vibro-JS-750 | 95–150 | 750 |
- luonnollinen taajuus: jopa alle 5 Hz
- staattinen taipumua: n. 15–25 mm riippuen kuormasta
- ilman muottia toteutettava rakenne nopeuttaa työmaan läpivientiä
Sertifikaatit ja ympäristö
- ISO 9001:2008 ja ISO 14001:2004 -standardin mukainen valmistus
- pitkä käyttöikä, ei sisällä haurastuvia vaimenninmateriaaleja
Tarvitsetko apua oikeiden jousivaimentimien valinnassa tai muiden tärinänvaimennustuotteiden kanssa? Asiakaspalvelumme auttaa [email protected] tai soita 040 8369980. Autamme myös tärinänvaimentimien suunnitteluun ja mitoitukseen liittyvissä asioissa.















Arviot
Tuotearvioita ei vielä ole.